Facebook
  • Round Steel Lifting Clamp RLC type
  • Round Steel Lifting Clamp RLC type

Round Steel Lifting Clamp RLC type

No.1611

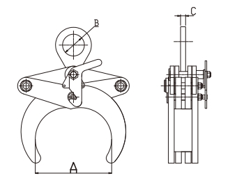
The Round Steel Lifting Clamp (RLC Type) is a specialized handling tool designed for the safe horizontal lifting and transporting of cylindrical objects. It provides a secure and balanced grip for heavy round profiles.

  • Horizontal Transport: Engineered specifically for the safe horizontal lifting and moving of round loads.
  • Versatile Usage: Ideal for handling solid round steel, tubes, pipes, tube bundles, and rolls.
  • Secure Grip: The jaw design firmly clamps cylindrical objects to prevent slipping during operation.
  • Durable Build: Manufactured from high-strength steel to ensure maximum reliability and safety.
  • Technical Data

  • Safe Use of Lifting Clamp

H-Lift Round Steel Lifting Clamp
*Auto-Lock Mechanism: Clamp locks open for easy positioning and grips automatically upon lifting.

Product Features

  • Designed for Round Stock: Specifically engineered for the horizontal lifting and transporting of tubes, pipes, tube bundles, rolls, and solid round bars.
  • Automatic Locking System: The clamp is locked in the open position for easy placement. To lift, the operator activates the handle; the clamp automatically locks open again when the load is set down.
  • User-Friendly Design: Lightweight and easy to handle, reducing operator fatigue during repetitive tasks.
  • Robust Construction: Features a tough quality body built to withstand industrial environments.
  • Versatile Capacity: Available in capacities from 0.5 Ton up to 5 Ton to suit various pipe sizes and weights.

Technical Specifications

*Refer to the diagram above to identify dimensions A, B, C in the table below.
Item No. Capacity Proof Load Jaw Opening Dimensions (mm) Net Weight Product Code
A B C
(t) (kN) (mm) - - - (kg)
RLC005 0.5 9.8 50 - 100 50 12 - 3.2 161100500
RLC010 1.0 19.6 50 - 100 50 14 - 4.1 161101000
RLC020 2.0 39.2 80 - 130 60 18 - 16.0 161102000
RLC030 3.0 58.8 120 - 220 68 18 - 32.0 161103000
RLC050 5.0 98.0 200 - 320 80 25 - 104.0 161105000
Universal Lifting Clamp

Universal Lifting Clamp

Vertical Lifting Clamp

Vertical Lifting Clamp

Horizontal Lifting Clamp

Horizontal Lifting Clamp

Selecting the Correct Lifting Clamp

Lifting clamps utilize various mechanisms (lever, cam, roller, or screw) to provide a friction grip on the plate. When selecting a clamp, consider:

  • Type of Action: Lever, cam, roller, or screw.
  • Capacity & Thickness: Ensure the clamp is rated for the weight and the plate thickness.
  • Rigging: Determine if a pendant chain sling is required to provide articulation.

IMPORTANT: Minimum Load Requirement
Some clamps (especially cam action types) rely on a minimum load to engage the gripping force safely. Unless specified otherwise by the manufacturer:
• The load should not be less than 20% of the Safe Working Load (SWL).
• The plate thickness should not be less than 20% of the maximum jaw opening.

Safety Guidelines

Always

  • Inspect clamps and accessories before use and before storage.
  • Ensure the clamp is seated fully onto the plate (as far as it will go).
  • Position the clamp directly over the center of gravity of the load.
  • Ensure the locking mechanism is fully engaged/tightened before lifting.
  • Ensure the plate is fully supported and stable before releasing the clamp.
  • Store clamps in a dry, clean place protected from corrosion.

Never

  • Never use clamps on hard or polished plates unless specifically designed for them.
  • Never put packing/shims between the plate and the jaws.
  • Never lift more than one plate at a time in a single clamp.
  • Never lower from vertical to horizontal (or vice-versa) unless the clamp is designed for it.
  • Never obliquely side load a vertical clamp.
  • Never force or wedge the hoist hook into the eye of the clamp.

Operation & Maintenance

Using Clamps Safely

Do not use defective clamps. Place the clamp over the load center. If the plate is long and tends to bend, use two clamps with a spreader beam to prevent the clamps from twisting. Keep oil, grease, and contaminants away from the gripping jaws.

In-service Inspection

Regularly inspect for:

  • Wear, damage, or distortion to fixed and moving jaws.
  • Cracks in the frame or opening out of the body.
  • Insecure, worn, or bent pins and bolts.
  • Worn friction grip material (teeth).
  • Damaged locking levers or tight threads.
⚠️ WARNING: Teeth of jaws must NOT be re-sharpened or re-cut unless specifically approved by the manufacturer.

Download

We use cookie to improve your online experience. By continuing browsing this website, we assume you agree to our use of cookie.